Мобільні пневмоконвеєри
Нижче наведено деякі схеми можливого застосування пневматичних конвеєрів NEUERO типу GSD. Ці схеми дозволяють чіткіше зрозуміти принцип роботи з даним різновидом обладнання та уявити, як можна використовувати його в конкретних умовах Вашого робочого майданчика.

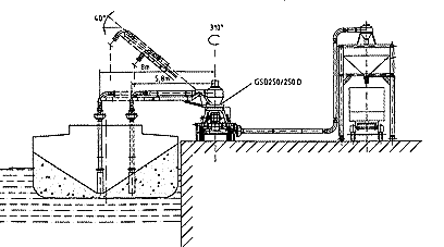
Вагон-судно:
Один зі способів перевантаження зерна з вагонів на великовантажні судна. Час розвантаження одного вагона-зерновозу «під нуль» пневматичним навантажувачем рівня GSD 250 становить близько 40 хвилин. У багатьох випадках така продуктивність є цілком прийнятною.

Вид зверху:
З цього малюнка, видно, що установка забезпечує розвантаження одного вагона, без його переміщення. Дана схема пневмотранспортера дає можливість обробляти транспортні засоби на значній відстані від судна. Однак необхідно передбачити механізм компенсації осідання судна — у міру його завантаження вертикальний канал має скорочуватися.

Вагон-судно з розміщенням конвеєра на борту:
Якщо вагони подаються досить близько до краю причалу, то конвеєр можна розташувати на борту судна. Це дасть змогу значно спростити процес компенсації осадки завдяки перевагам гідравлічної стріли (підйом/опускання та телескопічний хід 2,2 м).

Вагон-судно з розташуванням конвеєра на платформі:
Розміщення пневмоконвеєрів на платформі, може, бути спричинене місцевими особливостями місць експлуатації та практикується досить часто. На показаній схемі розміщення конвеєра над вагонами було продиктовано не тільки браком місця для його роботи на причалі, а й економічною доцільністю. Таке розміщення перевантажувача дозволило розвантажувати чотири вагони без переміщення. Точніше, поки розвантаження однієї пари вагонів, інша пара, може, бути замінена на повні вагони.

Судно-автомобіль:
Досить ефективна та поширена схема розвантаження судів. Розвантаження, може, здійснюватися на автотранспорт, залізничні вагони, накопичувачі чи інші конвеєри. Конструкція конвеєра NEUERO типу GSD дозволяє розташовувати обладнання вздовж борту судна, а не тільки впоперек, що дає можливість значно розширити діапазон суден, що обслуговуються.

Вагон-баржа:
Перевалка з вагонів та автомашин на баржі. Розвантажувальна стріла зручно підлаштовується під рівень осідання судна. Всмоктувальна гідравлічна стріла збільшує ефективність робіт із зачистки транспортних засобів, скорочує час їхньої обробки та вимушені простої.

Баржа-автомобіль:
Зручний спосіб розвантаження барж на автотранспорт — швидко, ефективно та якісно. Так само можна здійснювати розвантаження у вагони, якщо дозволить відстань від колії до краю причалу.

Баржа-вагон:
Коли відстань від вагона до судна не дає можливості використовувати розвантажувальну стрілу, матеріалопровід монтується на опорах із використанням колін 45 або 90 градусів. Розвантаження, може, здійснюватися безпосередньо в транспорт або через проміжну лійку-дозатор. Остання, може, служити накопичувачем.

Вагон-склад:
Пневматичні конвеєри часто використовуються для розвантаження транспортних засобів у склади. Матеріал водночас, може, подаватися на склад зверху, як показано на малюнку, або через ворота з триноги, як зі шланга. Розподіл матеріалу всередині складу дає змогу збільшити рівень його завантаження. Працюючи у зворотному напрямку зерно забирається пневмотранспортером прямо із насипу.

Вагон-контейнер:
Останнім часом дуже поширеним стало використання мобільних пневматичних конвеєрів для стафірування контейнерів. Вивантаження зерна чи подібного вантажу здійснюється безпосередньо з вагонів через люки. Отвір у контейнері закривається щитом, який має виріз для матеріалопроводу, яким «задувається» вантаж. У такий спосіб досягається висока продуктивність із залученням мінімальної кількості працівників.

Перевалка з борту на борт:
Поширений спосіб навантаження/дозавантаження суден великої вантажності. За такою схемою перевантаження можна розраховувати на максимальну продуктивність: безперервна подача великих обсягів зерна, відносно невеликі відстані перевалки, відсутність втрат і залишків вилучених матеріалів.
Це, лише деякі схеми можливого застосування пневмотранспортерів. Одна з величезних переваг пневматичних конвеєрів NEUERO типу GSD — це легка пристосовність одного й того ж обладнання до різних умов робочих майданчиків. Конвеєр типу GSD не вимагає спеціальної підготовки робочого майданчика, не займає багато місця, у процесі роботи не вимагає допоміжної техніки, легко переміщається від одного місця експлуатації до іншого, може, переміщувати зерно на значні відстані та доставляти його у важкодоступні місця. Простота та надійність механізмів, помножені на німецьку якість, гарантують тривалий термін експлуатації пневматичних транспортерів зернових та інших сипких вантажів в умовах інтенсивного використання на елеваторах та зерноскладах, в умовах портів та спеціалізованих терміналів. Щоби дізнатися ціну пневмотранспортера, обрати та придбати пневмотранспортер або дізнатися додаткову інформацію — звертайтесь до наших спеціалістів.


Подана схема ілюструє можливість застосування різних вузлів та компонентів для формування матеріалопроводу потрібної довжини та конфігурації. Коротку інформацію про певні деталі наведено нижче.

Циліндричне всмоктувальне сопло
Призначено для забору матеріалу при його безперервній подачі у великих обсягах (наприклад, при розвантаженні суден або бункерів, що постійно поповнюються). Виконано у вигляді двох циліндрів, вкладених один в інший. Має ручний регулятор подачі повітря, що дає можливість налаштовувати сопло на роботу з різними матеріалами. Має два типорозміри: 1 м та 1,5 м

Плоске всмоктувальне сопло
Призначено для робіт із зачистки, коли кількість матеріалу недостатньо для використання циліндричного сопла. Застосовується як додаткове обладнання при розвантаженні суден, бункерів і складів, що поповнюються, а також як основне обладнання при розвантаженні вагонів і автотранспорту. Має ручний регулятор подачі повітря.

Гнучка металева труба
Призначена на формування гнучких сегментів матеріалопроводу. Застосовується для підведення сопел або розвантажувального циклону до важкодоступних місць, для всіх видів робіт із зачистки транспортних засобів, складів та деяких бункерів, а також для керування потоком матеріалу на розвантажувальній частині (при завантаженні на судна та склади без використання розвантажувального циклону).

Циклон боку нагнітання
Інша назва — відділювач нагнітання на стороні розвантаження. Призначений для розділення потоку повітряно-зернової суміші на повітряний потік (який з циклону прямує вгору) і зерновий потік (який висипається з циклону під власною вагою). Застосовується під час розвантаження на автотранспорт, залізничні вагони та невеликі судна, а також при роботі з делікатними матеріалами, наприклад, соняшником.

Універсальний шарнір
Призначений для запобігання передачі навантаження матеріалопроводу на деталях обладнання та гасіння вібрації, може, обертатися в будь-який бік під кутом до 45 градусів. Застосовується на стороні всмоктування та нагнітання для відхилення матеріалопроводу в положення, яке найбільш зручне для роботи. Дає можливість розширити робочу зону конвеєра та запобігає механічним пошкодженням обладнання.

Коліно 90 градусів
Призначене для зміни напрямку транспортування матеріалу. Має модифікації з круглим і квадратним перетином зі змінною пластиною, а також з опорою. Найчастіше застосовують парами, для підйому матеріалопроводу на висоту від 5 до 25 метрів.

Коліно 45 градусів
Призначений для зміни напрямку транспортування матеріалу. Застосовується для організації похилих ділянок транспортної магістралі матеріалопроводу, а також, як напрямна потоку при розвантаженні матеріалу на судна, склади та бункери великих розмірів.

Труба
Пряма безшовна металева труба із високоміцної сталі з обробленою зносостійкою поверхнею — основний елемент матеріалопроводу. Застосовується для формування вертикальних та горизонтальних ділянок основної магістралі матеріалопроводу. Довжина труб — 1, 2 та 4 метри.

Фланцевий з’єднувач
Основний сполучний елемент. Дозволяє швидко та надійно з’єднувати вузли та деталі матеріалопроводу.
Цей перелік призначений для первинного ознайомлення з основними вузлами та деталями, що найчастіше зустрічаються на практиці.
Для різних типів установок застосовуються деталі з різним діаметром перерізу та можливі деякі відмінності в основних типорозмірах.
За додатковою інформацією звертайтесь до спеціалістів нашої компанії.
Можливе оснащення пневматичного конвеєра аспіраційним фільтром — опція. На базі серійних моделей можливе виготовлення обладнання в спеціальному виконанні — приклади.
Подробнее ...Режим нагнітання NEUERO
Подробнее ...Пневмотранспортери зерна мають максимальну продуктивність (вказана в тоннах на годину) на коротких відстанях передачі зерна пшениці щільністю 750 кг/м3 по безперервній подачі матеріалу.
Подробнее ...


